首页实践创新毕业设计展示

毕业设计展示(卢文立_基于CAN总线的实验室模块化监测系统设计与实现)
发布时间:2018-09-20浏览次数:2150

1教师、学生简介

叶倩,女,1985年出生,现任玛雅吧 物联网技术学院讲师。201211月毕业于江南大学控制理论与控制工程专业,获工学博士学位。主要从事混杂系统及智能网络方面科研工作。

叶倩-二寸照

刘马飞,男,1984年出生,现任玛雅吧 物联网技术学院讲师,2010年毕业于中国科学院声学研究所信号与信息处理专业,获工学博士学位,主要从事物联网和嵌入式智能终端产品的研制。

DSC_0016

卢文立,男,1995年出生,玛雅吧2015级物联网专业学生,中共预备党员。在校期间曾担任班级班长,物联网学生会副主席,曾获荣誉有:2016-2017年度江苏省优秀学生干部,2015-2016国家励志奖学金,获校级三好学生3次,校级优秀学生干部3次,2018年校优秀毕业生等。

图片1

2毕业设计主要成果

卢文立同学在参与横向课题故障录波智能采集与软件开发过程中,负责CAN总线下模块化数据采集与监测,在此基础上延伸完成毕业设计,在毕业设计过程中公开发表论文1篇(卢文立,叶倩.基于CAN总线的实验室模块化监测系统,科技创新与应用, 2018,(6): 35-36:研究了实验室的监测控制问题,提出了一种基于CAN总线技术的实验室模块化监测系统,利用STC89C52单片机和多种传感器进行数据采集、处理和传输,从而实现了实验室温度、烟雾浓度监测和越限报警的功能。)同时,申请了2项实用新型专利,其中已授权1项。专利清单如下:

[1]卢文立,叶倩.基于CAN总线的高校实验室监控系统,授权实用新型专利,专利号:ZL201721533337.4,授权公告日:2018529日。

[2]卢文立,叶倩.一种实验室模块化安全监测及报警装置,实用新型专利,申请号:201820375932.8,申请日:2018320

实用新型专利[1]提供了一种基于CAN总线的高校实验室监控系统,包括监控中心以及分设在各实验室的CAN节点,所述监控中心和CAN节点均连接至CAN总线;所述CAN节点包括:与单片机相连的CAN控制器、显示模块、温度传感器、烟雾传感器、人体红外感应模块、声光报警装置、驱动模块、电子密码锁以及电源模块,CAN控制器通过CAN收发器连接CAN总线,驱动模块连接实验室门禁的电子密码锁。系统功能之一是通过各种传感器采集实验室的环境信息,并通过LCD显示出来;功能二是可以对实验室安全进行监控,通过热释红外传感器检测实验室人员活动情况、其他传感器检测实验室环境和安全信息,并通知实验室监控中心做相关处理,实现对实验室安全的实时监控和管理。

1 CAN节点的电路结构框图

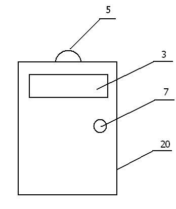
2实施例中CAN节点的外观图

3实施例中线路铺设图

3视频及实物介绍

所设计的高校实验室模块化监测系统以总线方式对数据实时发送,完成实验室环境监测,具有远程监控、集中管理、实时性好、操作方便等优点,具有较大的市场应用前景。部分实物演示效果如下:

4实物系统内部效果图

5演示检测到可燃气体报警

6演示密码输入错误显示“error”



实物演示视频